I. Định nghĩa:
- CAN (Control Area Network - Mạng điều khiển cục bộ) là một hệ thống truyền dữ liệu nối tiếp ứng dụng thời gian thực. Nó là một hệ thống thông tin phức hợp có tốc độ truyền cao và khả năng phát hiện ra hư hỏng.
- Bằng cách kết hợp dây đường truyền CANH và CANL, CAN thực hiện việc liên lạc dựa trên sự chênh lệch điện áp.
- Nhiều ECU (Cảm biến) lắp trên xe hoạt động bằng cách chia sẻ thông tin và liên lạc với nhau.
- CAN có 2 điện trở 120Ω, nó cần để thông tin liên lạc với đường truyền chính.

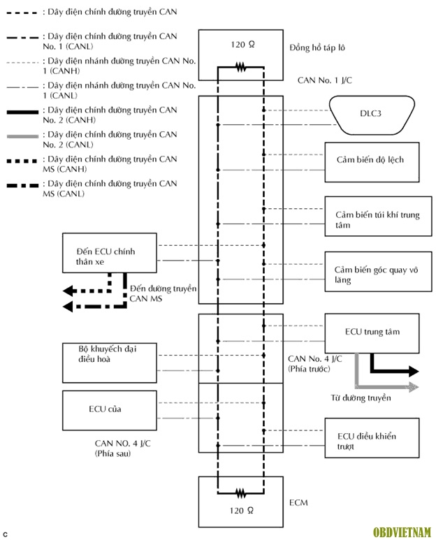
Sơ đồ tổng quát của đường truyền CAN

Sơ đồ vị trí hai điện trở 120 ôm
II. Phân loại:
Hai loại đường truyền CAN khác nhau được sử dụng. Đường truyền CAN được phân loại thành 2 loại dựa trên tốc độ truyền tín hiệu điển hình.
- Đường truyền HS-CAN là đường truyền tốc độ cao được sử dụng để liên lạc giữa các hệ thống truyền lực, gầm và một số hệ thống điện thân xe Đường truyền HS-CAN được dùng để gọi "Đường truyền CAN No.1" và "Đường truyền CAN No.2". Nó hoạt động ở tốc độ khoảng 500 kbps. Các điện trở cực cho đường truyền CAN No.1 được đặt ở trong ECU trung tâm và CAN No.2 J/C. Điện trở của đường truyền CAN No.2 không thể đo được từ giắc DLC3.
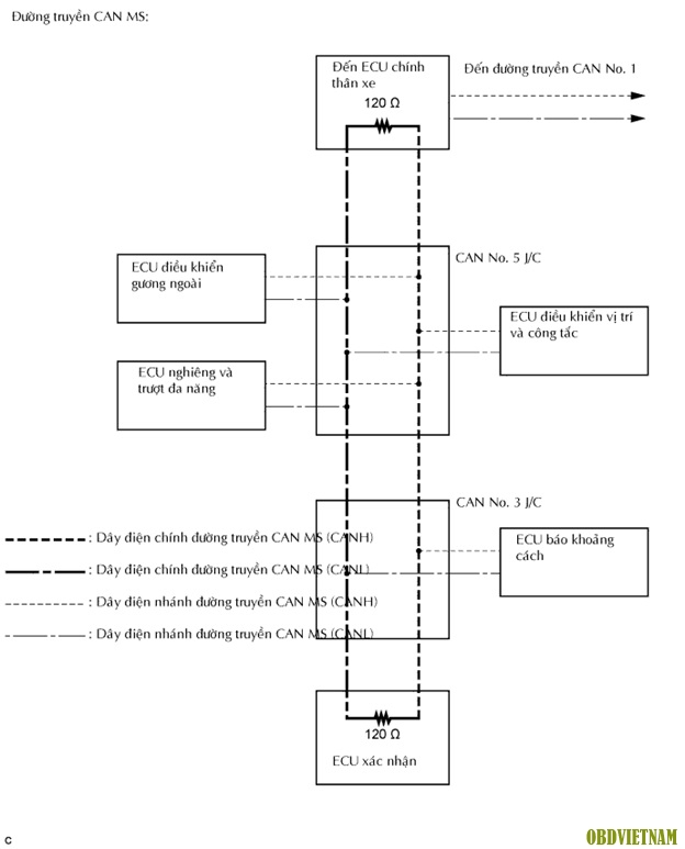
- Đường truyền MS-CAN là đường truyền tốc độ trung bình được sử dụng để liên lạc giữa các hệ thống điện thân xe Đường truyền MS-CAN được gọi là "Đường truyền CAN MS". Nó hoạt động ở tốc độ khoảng 250 kbps. Các điện trở cực cho đường truyền MS-CAN được đặt ở trong ECU thân xe chính và ECU chứng nhận. Điện trở của đường truyền CAN MS không thể đo được từ giắc DLC3.
Việc thông tin liên lạc giữa những mạng này được thực hiện qua ECU thân xe (cho đường truyền CAN MS) hay ECU trung tâm (cho đường truyền CAN No.2), có vai trò như một ECU trung tâm.

Sơ đồ mạng CAN tốc độ trung bình MS CAN
III. Định nghĩa các thuật ngữ:
1. Dây đường truyền chính:
Dây đường truyền chính và một dây điện nối giữa hai điện trở cực trên đường truyền (dây truyền dữ liệu). Đây là đường truyền chính trong hệ thống thông tin liên lạc CAN.
2. Dây nhánh:
Dây nhánh là dây điện mà chia ra từ dây đường truyền chính đến một ECU hay cảm biến.
3. Điện trở cực:
Hai điện trở 120 Ω được lắp song song qua hai đầu của dây đường truyền CAN chính. Chúng được gọi là điện trở cực. Những điện trở này cho phép bù lại sự thay đổi về điện áp giữa dây đường truyền CAN, cần phải lắp cả hai điện trở. Do hai điện trở được lắp song song, việc đo điện trở giữa hai dây đường truyền CAN phải được chế tạo có chỉ số khoảng 60 Ω.
4. Các ecu và cảm biến trong hệ thống thông tin liên lạc can:
- ECU điều khiển trượt
- Cảm biến độ lệch thân xe
- Cảm biến góc quay vô lăng
- Đến ECU chính thân xe
- Cảm biến túi khí trung tâm
- ECM
- ECU trung tâm
- ECU chứng nhận
- ECU điều khiển gương ngoài
- ECU chân máy điều khiển chủ động
- Bộ khuyếch đại điều hoà
- Đồng hồ táp lô
- ECU báo khoảng cách
- ECU điều khiển vị trí ghế (ghế trước trái)
- AFS ECU
- ECU nghiêng và trượt đa năng
5. Vị trí các ECU và cảm biến trên xe:


Mọi thông tin cần hỗ trợ,vui lòng liên hệ :
CÔNG TY CỔ PHẦN OBD VIỆT NAM
Hotline: 0913.92.75.79 ( Mr Cường )
Tel: 08.62.864.999 - 0913.92.75.79
Xem tin tức: http://www.obdvietnam.vn/news
8:17 PM
Share:

